梦幻!苹果大改iPhone外观设计:竟然这样

凤凰科技

阅读

苹果当地时间周二被授予一件与直接在设备屏幕中嵌入光感传感器有关的专利,对于开发无边框iPhone来说,这件专利是一个重要基础。

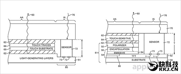
第9466653号美国专利称,“感光装置通常与设备显示屏是分离的。尽管从生产角度看这种设计有利,但它会浪费空间,在有些情况下会迫使厂商修改原本漂亮的设计。实际上,iPhone的近距和光感传感器位于显示屏上方扬声器附近。”

苹果建议在显示屏层上排列传感器。大多数具体实现在OLED或LCD显示屏层上排列传感器的技术,部分具体实现把传感器排列在设备显示屏周围,避免引发显示屏触摸不灵敏问题。

苹果密谋大招:iPhone无边框成定局

例如,一些具体实现使光感或近距离传感器位于OLED显示屏边缘。手机可能包含一个嵌有多种传感器的TFT(薄膜晶体管)层。在所有实现中,显示屏和传感器电路都包裹在玻璃或塑料材质的透明封装层中。

苹果今天所获专利的关键是设计。在每个实现中,传感器排列在显示屏中,而非像目前的iPhone、iPad和Mac型号那样在屏幕上方。这有助于把设备尺寸减少数个毫米,为真正的无边框设计奠定基础。

据称苹果在开发采用无边框设计的iPhone,这意味着传言中的OLED显示屏将覆盖整个设备。苹果上周获得一项把指纹传感器嵌入在屏幕中的专利,距离无边框设计目标又近了一步。耳机听筒仍然是个问题,不过理论上苹果可以采用不同的音频技术,把耳机听筒也隐藏到屏幕下面。

苹果密谋大招:iPhone无边框成定局

原创文章,作者:editor,如若转载,请注明出处:http://www.antutu.com/doc/6893.htm

相关推荐

登录后才能评论

评论列表 ( )

返回
顶部