苹果决不放弃Home键:还要这么玩!神了

快科技

阅读

有关苹果iPhone、iPad要放弃Home键的说法一直不断,也不断有人建议苹果赶紧这么做,但是看上去苹果很喜欢这种设计,而且准备了全新的玩法。

苹果新专利倒手:液态金属Home键

美国专利商标局今天批准了苹果的40多项新专利,其中一份编号9279733的就描述了为iPhone、iPad Home键配备液态金属(Liquidmetal)。

说起液态金属,很多人可能会立刻想起恐怖的终结者T-1000,但其实在技术上它指的是一种块体凝固非晶态合金,拥有一系列独特的属性,比如高强度、耐腐蚀、延展性、轻质量等等。

2010年起,苹果就每年都会持续保留液态金属的独家使用权,但只是在iPhone SIM卡针上用过,何时、如何大规模使用一直是个谜。

有关Home键使用液态金属的专利最早在2014年就出现了,但直到今天才被批准,不过值得一提的是,其中一个很重要的专利申请人Steve Zadesky最近刚刚离开了苹果。

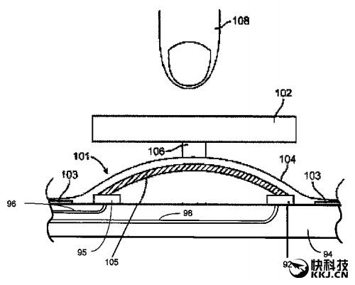
今天这份专利主要描述了液态金属的高延展性使之最适合压力传感Home键按钮,按下时轻微变形,手指离开后立刻返回正常形状。

即便是钛、不锈钢等优秀材料也会慢慢发生不可逆转的变形,液态金属则会永远保留弹性。

目前看,苹果今年的iPhone SE、iPhone 7、9.7寸iPad Pro都不太可能用上这种液态金属Home键,那么明后年的iPhone 7S/8会不会呢?再配上5.8寸的OLED屏幕,是不是更无法抗拒了?

苹果新专利倒手:液态金属Home键

原创文章,作者:gaozhiqiang,如若转载,请注明出处:http://www.antutu.com/doc/625.htm

相关推荐

登录后才能评论

评论列表 ( )

返回
顶部