抢跑苹果 Surface Phone或支持屏幕指纹

中关村在线

阅读

  中关村在线消息:虽然今年iPhone7的Home键是采用压感的方式,但传言苹果是为了下一代iPhone彻底取消Home按键做准备,如今看来这一项技术有望在Surface Phone上实现。今日,外媒最新消息称,微软一项专利遭到曝光,Surface Phone很有可能支持屏幕指纹识别功能。

抢跑苹果 Surface Phone或支持屏幕指纹

Surface Phone很有可能支持屏幕指纹识别功能

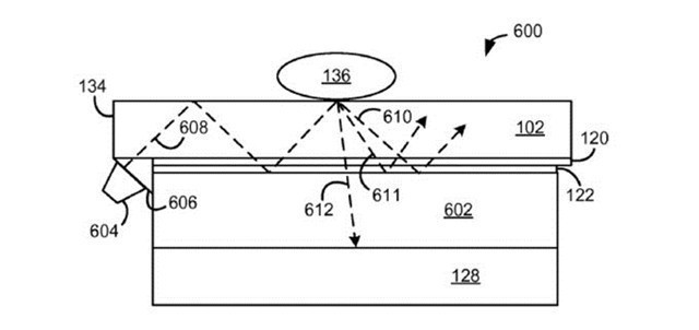
  目前,行业内传统的指纹识别做法都是将指纹识别模块放在了Home键或者机身背部。而从微软WIPO(世界知识产权组织)一项专利显示,微软的主意是将指纹识别集成在LCD和OLED屏幕下面。

抢跑苹果 Surface Phone或支持屏幕指纹

微软计划将指纹识别集成在LCD和OLED屏幕下面。

  具体而言,就是屏幕下面放置波导元件和滤波器,当手指按压在屏幕上时,传感器就能对指纹进行识别。这样做的好处在于,可以为手机腾出更多空间,还可以将手机做得更薄,同时可以进一步提升手机屏占比。

  按照苹果常规,2017年的新款iPhone也将采用类似的设计,而Surface Phone最早将在明年秋季发布,或者是2018年初。不知这两家公司谁先领跑呢,我们拭目以待。

原创文章,作者:editor,如若转载,请注明出处:http://www.antutu.com/doc/5797.htm

相关推荐

登录后才能评论

评论列表 ( )

返回
顶部