三星未来智能手表:把皮肤变成虚拟界面

中关村在线

阅读

    据外媒报道,三星智能手机的最新专利曝光,从专利显示如果三星的智能手表搭载此项技术,将实现可直接在皮肤上操作虚拟界面。

三星未来智能手表:把皮肤变成虚拟界面

三星未来智能手表:把皮肤变成虚拟界面

三星未来智能手表:把皮肤变成虚拟界面

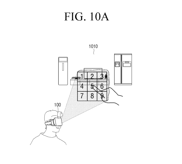
三星未来智能手表(图片来自腾讯)

    三星专利显示,为了解决智能手表显示屏幕太小这个问题,三星已经拥有了自己的一套构想和解决方案。他们准备在使用者的手臂上或是附近的物体平面上投射出虚拟的使用界面,而非在原本就很小体积的智能手表中加入其他硬件。

    三星的这一个构想与激光虚拟键盘类似。在三星的设计中,智能手表不仅仅能够投射虚拟键盘,还能够投射出二级信息。比如,用户想要使用智能手表在其上面查看地图的时候,投影器可在一旁投射出相关地标和商业信息等,诸如此类的辅助服务等等信息都可以投射出来。

    此外,三星的智能手表不仅能探测到点触动作,还能够识别手写等手势动作。

    据国外行业预测,智能可穿戴设备人拥有巨大的提升空间和市场。但目前可穿戴设备遇到的最大问题就是其实用价值太少,用户无法从它们身上获得更多的使用价值,比如智能手表,除了跟踪用户的健康水平之外就是手表的基本功能看时间,其他功能不多,对用户的实用性也不大。

原创文章,作者:editor,如若转载,请注明出处:http://www.antutu.com/doc/2118.htm

相关推荐

登录后才能评论

评论列表 ( )

返回
顶部