Apple Vision Pro 2或采用模块化设计 可单独硬件升级

Antutu

阅读

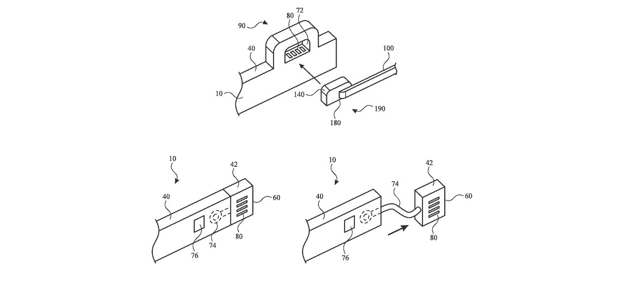
近日,苹果在美国专利局获得的一项新专利(Patent No. 12596254),标题为"Head-mountable device with connectable accessories"(可连接配件的头戴式设备),描述了一种模块化 Apple Vision Pro 的设计方向。

专利的核心思路是让用户自行拆卸和更换头显的各个组件,包括电池、框架甚至显示屏。

以电池为例,用户可以根据使用场景选择不同容量的电池,需要便携性时换上小容量轻薄电池,居家办公时换成长续航大容量电池,同理显示屏也可以按需升级。

图片

这种模块化设计也意味着苹果可能围绕头显打造配件生态,用定制化的硬件模块,让 Vision Pro 从一台通用设备扩展成一张可定制的硬件平台。

专利还提到了机械连接与数据通信的结合方式,类似于当前的开发者绑带(Developer Strap)如何与头显通信,但模块化设计将这一思路扩展到了更多类型的配件。不过需要注意的是,专利中也暗示这些模块可能以单独付费配件的形式提供,而非捆绑在主机中销售。

图片

从已知信息看,重量和佩戴舒适度是苹果推动模块化设计的主要原因,当前 Vision Pro 的重量问题长期困扰用户,允许拆卸重电池或更换轻量化框架能直接改善长时间佩戴体验。

当然,这只是一份专利文件,不意味着模块化 Vision Pro 会最终上市,但它至少说明苹果已经在认真考虑如何让下一代头显变得更好用、更可持续。

原创文章,作者:HyperZ-Ton,如若转载,请注明出处:http://www.antutu.com/doc/136568.htm

相关推荐

登录后才能评论

评论列表 ( )

返回
顶部