苹果新专利曝光:iPhone 有望变身为“呼气检测仪”

Antutu

阅读

美国专利商标局近日正式公示了苹果公司提交的一份全新专利申请,名为“带呼气传感系统的电子设备”,该专利文件显示,苹果正在探索将医学级的呼气检测功能直接集成到 iPhone 中,用户只需对着手机正常呼气,手机便能初步判断是否存在健康异常。

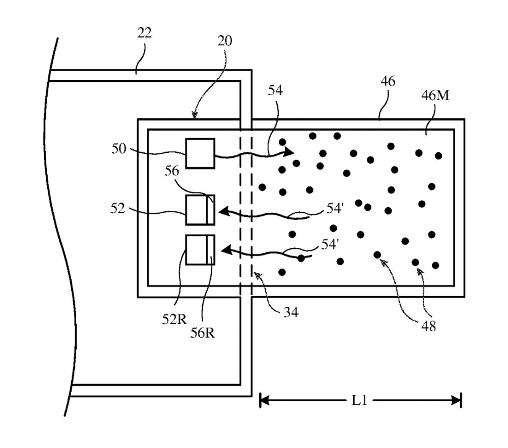
据了解,这项技术的核心原理并不复杂,系统主要依赖红外光源运转——用户呼出的气体经过专用传感器时,红外光束会穿透气体样本,精准捕捉其中含有的特定生物标志物分子。随后,iPhone 会将采集到的数据与医学数据库进行比对,一旦发现指标异常,便会在设备端推送就医建议。

图片

根据专利文档的描述,该系统理论上可以检测高胆固醇、糖尿病等常见慢性疾病的早期信号,为了提升检测准确度,苹果在专利中构想了多重传感器协同工作的方案。系统会同时调用可见光摄像头和红外深度摄像头,实时测算用户面部与传感器之间的距离——如果距离过远导致信号衰减,iPhone 会主动震动或响铃提醒用户调整姿势。此外,专利还提及了一种光束自动转向装置,能够根据人脸位置动态微调红外光束的投射角度,确保光束始终精准对准用户的口腔。

图片

值得注意的是,这份专利的适用范围并不局限于 iPhone,专利文档明确指出,该技术同样可以集成到 Apple Watch 以及智能汽车中,如果这项功能最终落地,用户未来或许只需抬手看一眼手表,就能完成一次基础的代谢指标筛查。

原创文章,作者:HyperZ-Ton,如若转载,请注明出处:http://www.antutu.com/doc/136529.htm

相关推荐

登录后才能评论

评论列表 ( )

返回
顶部