vivo“相机装饰环机械锁定”专利曝光:通过卡扣替换传统粘胶

Antutu

阅读

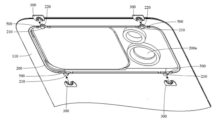
近日,vivo一份关于相机装饰环的设计专利首次公开,文档与示意图显示vivo正在研究一种用于固定手机相机装饰环的机械锁定机构——通过凸起、限位结构与弹性按压件等机械配合,使镜头装饰环卡入机身并稳固就位,从而减少对传统粘胶的依赖。

图片

该专利的草图和说明表示,这套“卡扣式”机械结构可实现装饰环的弹性咬合与按压锁定,形成稳定的物理连接。

图片

从专利图示可见,该设计包含若干相互配合的构件,配合凸起用于与装饰环啮合、限位结构控制位置与行程、弹性按压部件提供咬合与回弹力。整体思路类似于常见的snap-fit原理,利用弹性件的变形与回弹实现装饰环的卡入与固定,而非依靠涂胶固化。

这一设计既考虑了装配后的机械强度,也兼顾了对齐精度与拆装时的可维护性。

vivo声称该设计可在高温或长时间使用后避免胶水老化导致的环体松动或错位问题,同时可简化生产装配流程,减少对加热或固化工序的依赖,从而提升良率与降低生产成本。

图片

此外,在维修与返修环节,该设计不再需要加热软化粘胶,拆卸门槛与返修难度均会降低。

不过需要强调的是,目前该设计仅为专利文件,企业通过专利体系探索多样化设计属于常态,并不代表一定会采取该设计。

原创文章,作者:HyperZ-Ton,如若转载,请注明出处:http://www.antutu.com/doc/135718.htm

相关推荐

登录后才能评论

评论列表 ( )

返回
顶部